Опубликовано 20 октября 2016, 16:45

Есть патент!

Пять самых значимых патентов компании Honda за 2016 год
Последние годы компания Honda, мягко говоря, не балует автолюбителей новинками, в особенности российских. Модельная линейка японского автопроизводителя в нашей стране разнообразна, как жизнь кольчатого червяка. Но что касается патентов, то здесь японский производитель автомобилей, мотоциклов и газонокосилок даст многим фору. Один лишь основатель компании Соитиро Хонда за свою жизнь (1906 — 1991) изобрел и зарегистрировал около 150 патентов. Мы выбрали пять самых многообещающих разработок «Хонды», запатентованных только в этом году.
Есть патент!

Последние годы компания Honda, мягко говоря, не балует автолюбителей новинками, в особенности российских. Модельная линейка японского автопроизводителя в нашей стране разнообразна, как жизнь кольчатого червяка. Но что касается патентов, то здесь японский производитель автомобилей, мотоциклов и газонокосилок даст многим фору. Один лишь основатель компании Соитиро Хонда за свою жизнь (1906 — 1991) изобрел и зарегистрировал около 150 патентов. Мы выбрали пять самых многообещающих разработок «Хонды», запатентованных только в этом году.

Есть патент!

Контактный рельс и токоприемник

Над задачей по увеличению пробега электрокаров корпят сотни инженеров различных компаний. Ломают головы над быстрыми зарядными станциями и беспроводными зарядками, но есть и весьма архаичные идеи. Спецы из Scania, к примеру, предложили пойти по пути троллейбусов и электропоездов, оснастив свои грузовики токоприемниками, а дороги — высоковольтными проводами. Кое-что похожее придумала и Honda.

По замыслу разработчиков, электрокары можно оснастить выдвижным токоприемником, а вдоль дорог провести контактный рельс. Идея схожа с принципом работы поездов в метрополитене. Контактный рельс позволит электрокару восполнять энергию батарей на ходу, сводя к минимуму простои машины у розетки. Кроме того, реализация такой идеи обойдется значительно дешевле, чем проект беспроводной зарядки с электромагнитными катушками под землёй.

Есть патент!

Однако есть и ряд недостатков: воздействия окружающей среды, поломки контактного рельса и выдвижного токоприемника, а также вопрос изоляции рельса от людей и животных ради безопасности. Заявка на патент была подана еще в 2013 году, но лишь в мае 2016-го он был зарегистрирован соответствующей службой США. О перспективах применения технологии информации пока нет.

Есть патент!

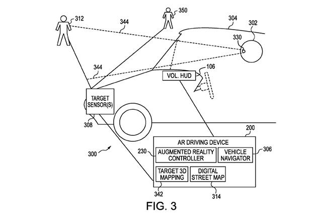
«Рентгеновское зрение»

Какой бы водитель не хотел иметь рентгеновское зрение как у супермена?! Предугадывать перестроения машин, скрытых потоком или находящихся в слепой зоне. Заранее видеть пешеходов и велосипедистов, внезапно появляющихся из-за припаркованных автомобилей. Или смотреть сквозь тонированные стекла.

Все, кроме последнего, предусматривают две технологии, запатентованные «Хондой» в сентябре 2016-го в США.

Есть патент!

Правда «рентгеновским зрением» наделяется не водитель, а автомобиль. При помощи специальных сенсоров и датчиков компьютер отслеживает в «слепых зонах» пешеходов и обозначает их местоположение на интерактивной карте на проекционном дисплее. За счет большой дальности действия системы у водителя будет достаточно времени для принятия самостоятельного решения, чтобы избежать аварийной ситуации.

Вторая технология займется отслеживаем автомобилей, «общаясь» с ними. То есть, благодаря коммуникации между машинами, движущиеся впереди автомобили будут сообщать остальным о местоположении соседей по потоку. Сведения будут выводиться на проекционный дисплей и водитель будет в курсе всех перестроений машин, которые находятся вне его поля зрения. Кроме того, система сможет передавать данные по скорости других автомобилей, чтобы избежать экстренного торможения. О серийном использовании подобных технологий пока не сообщается.

Есть патент!

11-ступенчатый «робот» с тремя сцеплениями

Еще каких-то 15 лет назад пятиступенчатая автоматическая коробка была пределом мечтаний автомобилистов. А затем инженеры устроили гонку количества передач, которая длится и по сей день. Семь, восемь, девять, десять, а скором времени и одиннадцать.

По правде сказать, разработкой 11-ступенчатой трансмиссии заняты многие, не только Honda. В апреле 2015-го «автомат» с таким количеством передач запатентовала компания Ford. Но у роботизированной японской коробки есть одна интересная особенность — в ней три сцепления.

Есть патент!

Автор изобретения Изуми Масао считает, что новая трансмиссия позволит увеличить скорость переключений и сделает сам процесс смены передач еще более плавным, а также положительно повлияет на топливную экономичность. Коробка предназначена для компактных автомобилей, приоритетом у которых является малый расход топлива.

Подробности о запатентованной коробке передач компания Honda пока не распространяет. Любопытно, на что будет способен «робот» с тремя сцеплениями, если даже привычные нам роботизированные коробки с двумя сцеплениями способны менять передачи без разрыва мощности: размыкание и смыкание сцеплений происходит синхронно.

Есть патент!

Двигатель с разными поршнями

Несмотря на напор со стороны электрокаров, гибридов и водородных силовых установок, инженеры еще умудряются находить потенциал в конструкции двигателя внутреннего сгорания. Среди них есть и специалисты компании Honda. Они разработали и запатентовали в мае этого года проект мотора с разновеликими поршнями.

Есть патент!

Такая конструкция подразумевает использование поршней разной высоты в двигателях с отключаемыми цилиндрами. Разная высота — это разные ходы поршней от нижней до верхней мертвой точки, а соответственно, разный объем в каждом цилиндре. Таким образом, отключая тот или иной цилиндр можно будет варьировать рабочий объем двигателя, а разная высота поршней позволяет увеличить количество вариантов доступного рабочего объема.

Например, при стабильном движении по трассе система оставит включенными цилиндры с меньшим объемом, а как только водителю понадобится больше мощности, в ход вступят более объемные цилиндры. На четырехцилиндровом моторе система сможет отключать от одного до трех цилиндров.

Как отмечают в «Хонда», технология может использоваться также на двух-, трех- и шестицилиндровых агрегатах. Напомним, что над изменением рабочего объема двигателей трудятся и специалисты компании Infiniti.

Есть патент!

Цифровой мотоинструктор

Эта многообещающая разработка компании Honda, запатентованная в 2016 году, посвящена мотоциклам — персональный интеллектуальный цифровой инструктор, способный давать советы и подсказки мотоциклисту прямо на ходу. Анализируя показания многочисленных сенсоров, гироскопа, акселерометра, датчика угла поворота руля и наклона, GPS-приемника, датчика скорости и видеокамеры, интерактивный помощник собирает данные об уровне мастерства пилота.

Есть патент!

После анализа собранной информации компьютер выводит на сенсорный экран, установленный на приборной панели мотоцикла, подсказки для пилота по улучшению стиля езды. Интерактивный помощник дает советы прямо на ходу — в отличие от «живого» инструктора, который сможет обсудить урок только после остановки байка. Таким образом, мотоциклист мгновенно получает оценку своих действий, получает наглядные подсказки по улучшение мастерства и лучше их воспринимает. Когда система перекочует из прототипа в серийное производство — не сообщается.

Тег: