Опубликовано 14 января 2022, 14:37
1 мин.

Ford может изменить конструкцию откидного борта у пикапов

Компания запатентовала новую систему доступа к грузовой платформе
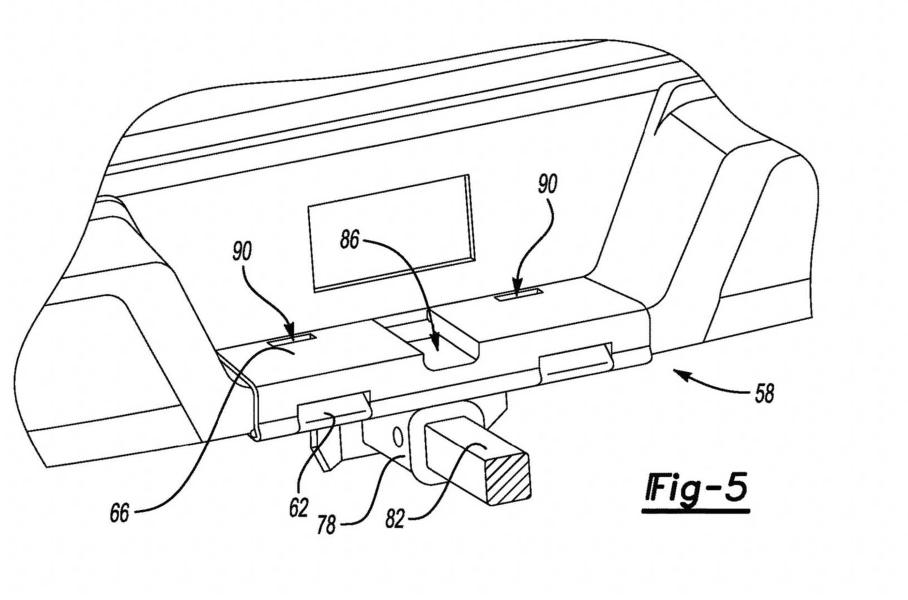
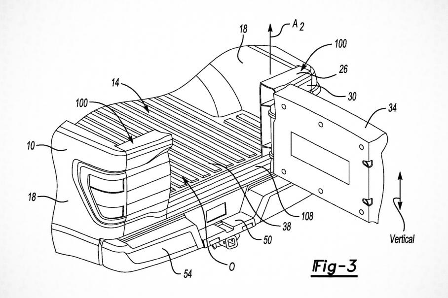
В базе Ведомства США по патентам и товарным знакам обнаружили заявку от Ford: согласно документу, автопроизводитель разработал новую конструкцию заднего борта для пикапов — он может либо откидывается вниз, либо открываться вбок, как дверца. Судя по эскизам из документа, задний борт состоит из трех секций и оснащен встроенной складной подножкой, что должно облегчить доступ к грузовой платформе. Будет ли подобная технология внедрена на серийные пикапы, пока неизвестно.
Ford может изменить конструкцию откидного борта у пикапов
© uspto.gov

Работа системы открывания заднего борта продемонстрирована на примере F-150. Борт имеет три секции: можно откинуть все три вниз либо открыть среднюю секцию вбок, как дверь. Из документов следует, что такая конструкция получит название Flexbed, уточняет Carbuzz.com.

Похожие технологии есть и у других американских компаний. Например, GMC уже предлагает задний борт MultiPro для Sierra 1500, особенность которого — встроенная откидная секция с широкими возможностями трансформации.

Ram в свою очередь имеет в арсенале опцию для пикапов серии 1500 — задний борт Multifunction Tailgate, который можно откинуть вниз целиком вровень с погрузочной площадкой либо распахнуть створки в пропорции 60:40 (вместе или по отдельности). При этом каждая дверца распахивается почти на 90 градусов.

С большой долей вероятности Ford предложит Flexbed в качестве опции для F-150, чтобы не отставать от конкурентов.

Однако далеко не все запатентованные технологии доходят до массового внедрения. Например, ранее Ford запатентовал выдвижные выхлопные патрубки для внедорожников — предполагается, что такая система позволит избежать повреждения выпускной системы. Эта функция так и не была реализована.

Источник:Carbuzz
Теги: