Опубликовано 10 февраля 2022, 16:45
1 мин.

Toyota придумала руль, который увеличивается и уменьшается в диаметре

Японская марка запатентовала новую технологию тактильной отдачи
Портал AutoEvolution обнаружил в базе патентного ведомства США новую заявку от Toyota. Судя по описанию и эскизам из документа, автопроизводитель разработал новую технологию тактильной отдачи: рулевое колесо увеличивается либо уменьшается в диаметре при определенных действиях водителя. Например, если он отвлекся от дороги или совершает маневр, который «умная» система посчитает опасным, руль «надувается» и увеличивается в размерах, давая тем самым обратную связь.
Toyota придумала руль, который увеличивается и уменьшается в диаметре
© Toyota

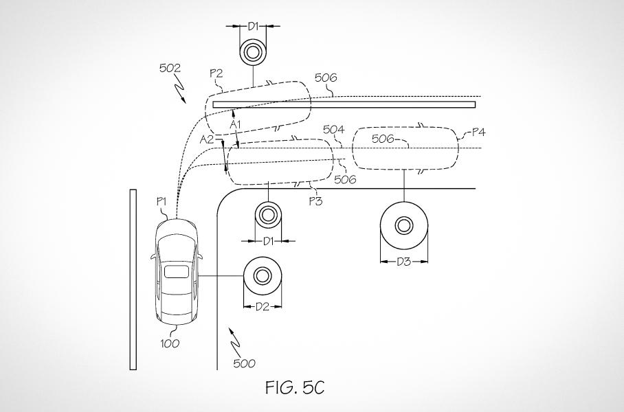
Из описания следует, что технология может быть использована на автомобилях, оснащенных продвинутыми электронными ассистентами, работает в связке с радарами, камерами и множеством датчиков, а также включает искусственный интеллект, который собирает и анализирует данные. На схемах, приведенных в патентной заявке, изображен руль, в который, по всей видимости, встроен компактный насос, отвечающий за увеличение обода.

Приводятся и варианты ситуаций, при которых обод увеличивается в размерах. На одном из рисунков подремонтировано, что руль «надувается» при опасном перестроении из полосы в полосу, на другом изображено, как автомобиль на повороте выезжает на «встречку» — в этом случае руль тоже реагирует на действия водителя, которые могут привести к ДТП.

AutoEvolution считает, что Toyota воплотит эту задумку в жизнь и внедрит ее на автомобилях следующего поколения. Однако далеко не все запатентованные автопроизводителями технологии доходят до «серии».

В числе патентов Toyota, которые так и не были реализованы — поворотники для автомобиля, который ездит боком. Предлагается устанавливать четыре указателя поворота сзади с каждой стороны: если водитель собирается поехать строго вправо вбок, то поворотники будут мигать по очереди от самого левого до самого правого. Дополнительно будут подсвечиваться колесные арки с той стороны, в которую двигается автомобиль.